而提高污水厂出水水质,有效的方法之一就是增加深度处理段,处理的指标主要有SS、TN和TP等。这时候,过滤工艺(滤池)无疑是比较合适的选择。
我国南方诸多污水厂都将后置反硝化滤池作为主要脱氮手段,甚至不考虑出水总氮波动的可能性,单纯依赖其进行脱氮。也难怪行业间开始流传“每一个成功解决总氮提标问题的污水处理厂,背后都站着一个反硝化滤池”这句玩笑。
今天我们主要来简单聊聊反硝化滤池、V型滤池、重力无阀滤池和滤布滤池,希望水友们看完以后能对这些构筑物有一个更清晰的了解。
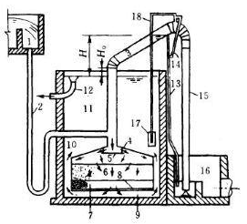
根据污水在滤池中的流动方向,可分为上流式反硝化滤池和下流式反硝化滤池。
以下流式重力滤池为例,污水从上往下流,依次通过配水区、填料区、承托层,然后至出水收集区。同时还配有气水联合反冲洗设备和冲洗收集槽,以保证反硝化滤池的正常运行。

反硝化滤池|图源:网络
填料区的填料一般为鹅卵石、砾石、石英砂、陶粒等材料。承托层一般由滤板、滤头、承托层滤料组成,有时滤头会被改为方便布水布气的滤砖,以配合反冲洗系统,优化气水分配。
反硝化滤池又可分为前置反硝化滤池和后置反硝化滤池。
其中,前置反硝化滤池主要用于处理进水碳源充足且出水总氮要求高的情况,后置反硝化滤池则更适合用于有机物含量明显偏低的废水(工业废水比重高)或用于深度去除脱氮。
对于高标准排放的新建污水厂或者已建污水厂提标改造深度脱氮工程,反硝化滤池可以说尤其适用。其优势如下:
1、与曝气生物滤池相比,反硝化滤池无需在滤池中增加曝气设备,仅需一套用于水气联合冲洗反冲洗设备来进行驱氮和定时清洗,占地面积小,能耗降低明显。
2、主流异养反硝化可以通过对过程参数的自动化监测达到对外加碳源的精确控制,很大程度减少碳源投加量。自养反硝化甚至无需外加有机碳源,彻底杜绝出水COD升高问题、大大降低产泥率。
3、反硝化滤池能满足出水SS不大于8mg/L(通常能达5mg/L左右)和浊度小于5NTU的出水要求。如果填料使用比表面积较大的石英砂一类的深度滤床,还可以避免窜流和穿透现象,较好截留住因前端生化段发生污泥异常而出现的SS。
4、通过在进水中投加除磷絮凝剂,不仅可以进一步降低CODr和BOD5,还能使出水TP稳定降至0.5mg/L以下。
V型滤池
V型滤池是粗滤料滤池的一种形式,因两侧进水槽设计成V型而得名。

V型滤池的滤料一般采用粗粒、均质单层石英砂,粒径一般为0.95~1.35mm,滤层厚度在0.95~1.5m之间选用,滤速一般为12.5~15m/h,比普通快滤池滤层厚,截污量大,滤速高,过滤周期长,因而出水效果更好。
V型滤池运行一段时间后根据出水水质和滤速需定期进行反冲洗操作。它的反冲洗主要有四个阶段:气冲-汽水冲-水冲-表面扫洗,反冲洗效果好,大大节省反冲洗水量和电耗。
由于整个滤料层在深度方向的粒径分布基本均匀,在反冲洗过程中,滤料层仅微膨胀,不易产生滤料流失现象,滤层含污能力高,滤池过滤周期长。
V型滤池的缺点是占地面积大,不适合已建好的污水厂,且其投资较大,运行费用也较贵,在污水深度处理方面竞争优势并不是很明显。
重力式无阀滤池
重力式无阀滤池是一种水力自动控制的滤池系统,不设闸阀利用水力条件自动控制过滤和反冲洗过程。
重力式无阀滤池|图源:网络
其工作原理简单来说是,待过滤水通过高位进水分配槽后,由进水管进入滤料层,悬浮在水中的杂质被滤料层截留,滤后水会进入到滤层下面的清水区,后经连通管上升到冲洗水箱,直至水位上升到出水口,清水流出,这就是过滤过程。
在冲洗水箱水位上升的同时,虹吸上升管中浊水水位也相应上升,在到达虹吸辅助管口时,浊水便从虹吸辅助管中流下,反冲洗过程即将开始。直至反冲洗结束,过滤又重新开始。
重力式无阀滤池由于冲洗水箱位于滤池上部,滤池的总高度较大,相应提高了滤池前面的处理构筑物的标高,从而给整个水厂的高程布置带来困难。由于滤料密封装于顶盖以下,运行中看不到滤料的情况,装卸和清理也都十分不便。
另外,重力式无阀滤池的单池面积较小,一般仅适用于处理水量较少的中小型污水厂。
滤布滤池
滤布滤池主要是靠纤维滤布对SS和已经形成的絮体进行过滤。
以纤维转盘滤布滤池为例,其工作原理是:污水加压或者重力自流进入滤池,滤盘是完全浸没在污水中的,污水过滤布过滤,SS被纤维布截留,过滤后的水则通过出水堰排出滤池。此外,还包括反冲洗和排泥过程。
纤维转盘滤布滤池|图源:网络
与常规滤池相比,纤维转盘滤布滤池具有处理效果好,出水水质高,设备运行稳定等诸多优势:
1、采用滤盘外包滤布来代替传统滤池的砂,滤布孔径很小,现今主要有10um和5um两种,前者主要用在一级A标准中,后者主要用在高于一级A标准中,截污效果好,因此出水水质高并且稳定。在进水SS不大于20mg/l的情况下,出水SS可小于5mg/l,甚至实际运行出水更优质。
2、相当于是滤池及沉淀池的结合,具有排泥功能,颗粒大的污泥直接沉淀到斗形池底,不会堵塞滤布,耐冲击负荷,过滤周期长,清洗间隔长。
3、设备简单紧凑,附属设备少,占地少。由于滤盘垂直中空管设计,减少了池容,基建投资也减少。
4、由于滤布较薄,非常容易冲洗干净,清洗非常高效,反冲洗耗水量约是砂滤的1/2,能耗也少。
滤布滤池特别适用于已建污水厂的升级改造,可以使出水从一级B达到一级A,因此,在占地有限的情况下可优先考虑使用。
另外,滤布滤池的核心是滤布的选择。从实际使用年限来看,AQUA的滤布寿命可达7-10年,但是国产滤布仅为3-5年。





